Резервуарное и насосное оборудование
ОКП 36 8912
Патрубки вентиляционные ПВ являются комплектующими изделиями вертикальных цилиндрических резервуаров для хранения нефтепродуктов, масел и т.п. Изделия предназначены для приемо-раздаточных операций, вентиляции и защиты от попадания внутрь резервуаров посторонних предметов.
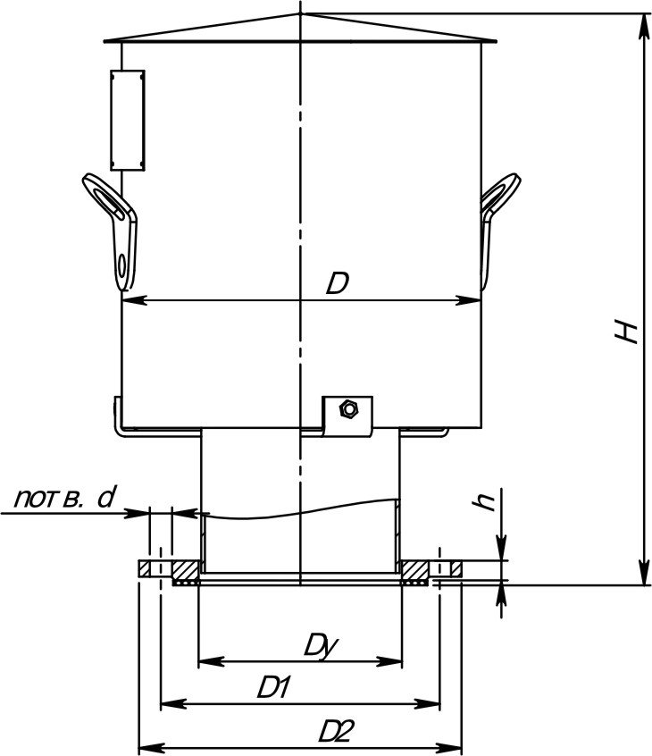
Патрубок ПВ состоит из трубы, в верхней части которой расположены окна, закрытые сеткой, закреплённой на трубе хомутами. Нижняя часть трубы заканчивается фланцем, предназначенным для закрепления его на монтажном патрубке резервуара.
Для защиты от прямого воздействия атмосферных осадков и механических повреждений сетки на трубе установлен колпак, закреплённый болтами. ПВ должен устанавливаться на монтажный патрубок резервуара посредством болтового соединения.
Патрубки вентиляционные выпускаются в климатическом исполнении Т, У и УХЛ категории размещения 1 по ГОСТ 15150-69.
Пример условного обозначения при заказе:
ПВ-500У ТУ 3689-014-00217633-97, где:
ПВ – патрубок вентиляционный;
500 – условный проход;
У - климатическое исполнение.
Размеры условного прохода патрубков должны выбираться в зависимости от производительности насосов для откачки-закачки продукта.
Возможна поставка в комплекте с ответным фланцем, огнепреградителем, крепежом и специальной окраской.
|
Наименование основных параметров |
ПВ-50 |
ПВ-80 |
ПВ-100 |
ПВ-150 |
ПВ-200 |
ПВ-250 |
ПВ-300 |
ПВ-350 |
ПВ-500 |
|
Условный проход, Ду, мм, не менее |
50 |
80 |
100 |
150 |
200 |
250 |
300 |
350 |
500 |
|
Присоединительные размеры, мм: диаметр монтажного фланца, D2 толщина монтажного фланца, h межцентровое расстояние, D1 диаметр отверстия, d |
140 13 110 14 |
185 14 150 18 |
205 14 170 18 |
260 16 225 18 |
315 18 280 18 |
370 21 335 18 |
435 20 395 22 |
485 23 445 22 |
640 24 600 22 |
|
Количество отверстий, n, шт. |
4 |
4 |
4 |
8 |
8 |
12 |
12 |
12 |
16 |
|
Габаритные размеры, мм: Высота, Н диаметр колпака, D |
182 128 |
219 195 |
225 218 |
435 280 |
510 380 |
550 450 |
690 510 |
765 580 |
840 770 |
|
Масса, кг, не более |
3,2 |
5,1 |
6,8 |
16,0 |
21,5 |
32,0 |
42 |
49 |
70 |
